首頁 / 最新消息 / BMW「專利螺絲」讓車主只能回原廠維修?網友提對策:想辦法換成普通螺絲
2025/12/29
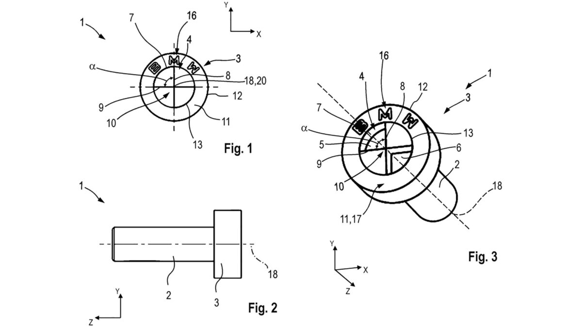
當頭號對手Mercedes-Benz祭出「Tomorrow XX」計畫,試圖降低保養與零件更換門檻時,BMW卻似乎走向另一條路。外媒近日發現,BMW申請了一項相當特殊的新專利:螺絲頭直接做成BMW廠徽造型,一旦成真,恐怕會讓DIY維修與副廠施工難度大幅提升。…more
資料來源:地球黃金線